1
/
of
1
Danfoss
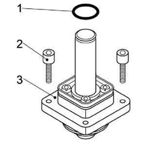
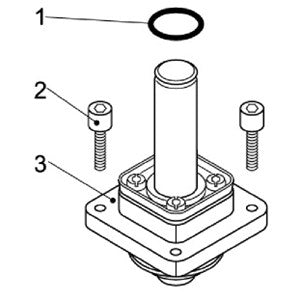
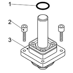
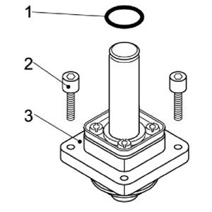
Danfoss Spare part, EV250B NO 10-12BD FKM, Service kit
Danfoss Spare part, EV250B NO 10-12BD FKM, Service kit
Regular price
R 0.00 ZAR
Regular price
R 0.00 ZAR
Sale price
R 0.00 ZAR
Unit price
/
per
SKU: Part Number:032U5320
Shipping calculated at checkout.
Couldn't load pickup availability
Danfoss Spare part, EV250B NO 10-12BD FKM, Service kit
Share
